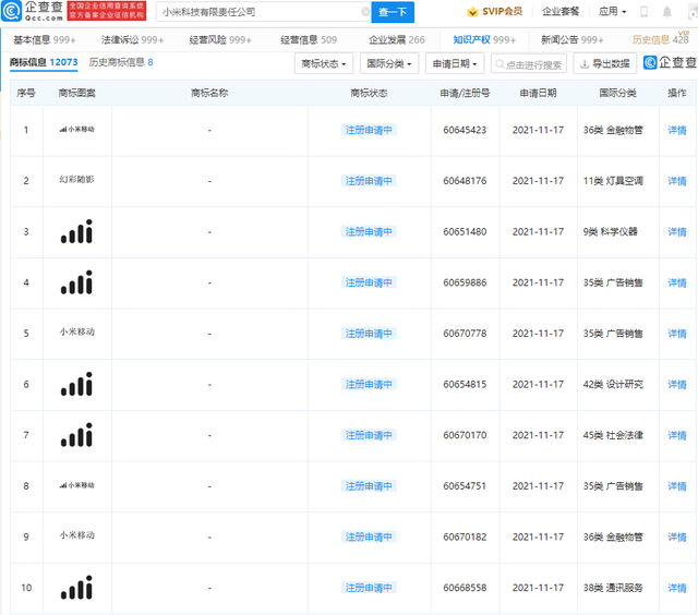
驱动中国2021年11月22日消息,小米科技有限责任公司近日新增多项“小米移动”商标申请信息,图案近似通讯信号。

企查查 App 显示,“小米移动”商标国际分类涉及金融物管、广告销售、通讯服务等,目前商标状态均为“注册申请中”。
据悉,小米今年以来已申请注册多项商标,包括“巨有电”“神仙秒充”“小米人”“Mi Credit”等。
此外,11 月 3 日公开的小米科技有限责任公司与国家知识产权局其他一审行政判决书显示,由他人注册的小米商标已被撤销,且小米公司获得 MI 商标转让。判决结果为撤销小米公司域名图形商标的驳回复审决定书。


